开云官网
财政局行政执法程序流程表
|
行政执法种类 |
行政执法检查√、行政处罚√、行政许可□、行政强制□、行政给付□、 行政确认√、行政裁决□、行政征收□、行政奖励□ |
|
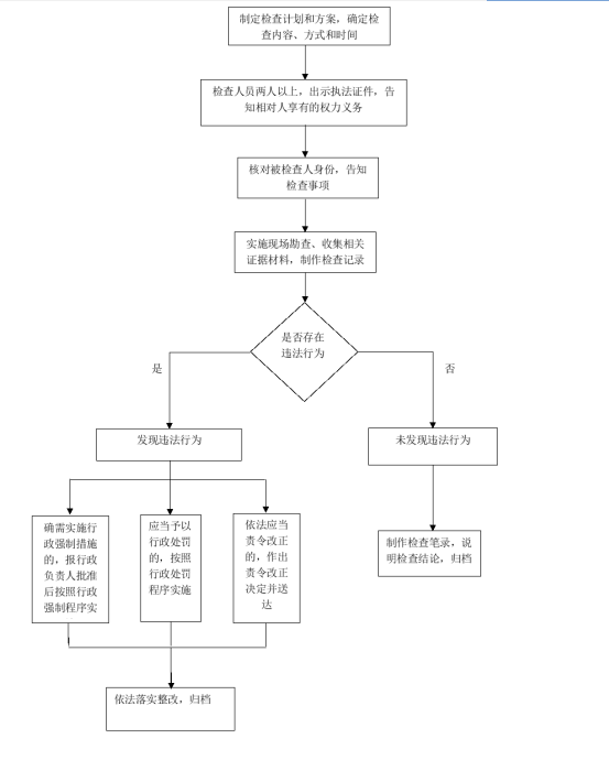
行政执法检查 |
|
|
行政处罚 |
|
|
行政确认 |
|






津公网安备12010102000334号
`